Термопара ТПП/ТПР-0192-16, -16М
Артикул: Термопара ТПП/ТПР-01 В наличии-
от 1 100 000 сум
от 10 шт.
- Оплата: Перечислением
- Доставка: Быстрая доставка, Стандартная доставка, Бесплатная доставка
Термопара ТПП/ТПР-0192-16, -16М
Платиновые термоэлектрические преобразователи — термопары ТПП-0192-16, -16М, ТПР-0192-16, -16М с защитным чехлом из боросилицированного графита предназначены для измерения температуры газообразных нейтральных и окислительных сред, воздуха, инертных газов, не взаимодействующих с материалом термоэлектродов и не разрушающих материал защитной арматуры, расплавов алюминия и других расплавов, не разрушающих материал защитной арматуры. Диапазон измерения температуры 0…1300ºC.
Технические характеристики термопары ТПП/ТПР-0192-16, -16М
Конструктивные особенности термопары ТПП/ТПР-0192-16, -16М
— защитная арматура — без штуцера;
— материал защитной арматуры, до погружаемой части (D) — сталь 12Х18Н10Т, диаметром 30 мм (для ТПП/ТПР-0192-16) или диаметром 20 мм (для ТПП/ТПР-0192-16М);
— материал погружаемой части (d) — боросилицированный графит БСГ-30, диаметр 42 мм с внутренним керамическим чехлом и диаметр 20 (для ТПП/ТПР-0192-16), или боросилицированный графит БСГ-30 42 мм с внутренним газоплотным импортным чехлом с содержанием оксида алюминия Al2О3> 99,7% и диаметром 12 мм (для ТПП/ТПР-0192-16М);
— D/d=30/42, либо 20/42 мм;
— термоэлектроды Ø 0,5-0,5 мм (для ТПП/ТПР-0192-16) и Ø 0,4-0,4 мм (для ТПП/ТПР-0192-16М);
— рабочий спай изолирован;
— один чувствительный элемент S (ТПП), R (ТПП), B (ТПР), класс допуска 1 или 2.
Термопреобразователи — датчики температуры ТПП/ТПР-0192-16, -16М состоят из чувствительного элемента (термопары типа ТПП или ТПР, армированной двухканальной трубкой из оксида алюминия) и головки для внешних подключений. Чувствительный элемент помещен в чехол, который плотно крепится в металлической арматуре — стальной трубе. В головке термопреобразователя находится клеммная колодка, предназначенная для подключения свободных концов чувствительного элемента и удлиняющих проводов. Положительный платинородиевый электрод присоединяется к контакту со знаком «+» или «1».
Измерение температуры термопарой основано на явлении возникновения в цепи термопары (термопреобразователя, термоэлектрического преобразователя) термоэлектродвижущей силы при разности температур между его рабочими и свободными концами. Величина термоэлектродвижущей силы зависит от этой разности температур и фиксируется потенциометром.
| Параметр (характеристика) термопары ТПП-, ТПР-0192-16, -16М | Значение параметра (характеристики) |
| Тип температурного датчика | платиновый ТПП; платино-родиевый ТПР |
| Измеряемая среда | Газ; Расплавы металла; Продукты сгорания топлива |
| (НСХ) Номинальная статическая характеристика чувствительного элемента | S (ТПП); R (ТПП); B (ТПР) |
| Количество чувствительных элементов | 1 |
| Класс допуска чувствительных элементов | для ТПП-0192-16, -16М — 1, 2 (по ГОСТ 6616), для ТПР-0192-16, -16М — 2 (по ГОСТ 6616) |
| Спай чувствительного элемента | изолированный |
| Диапазон измерения температуры | 0 … 1300 ºC (ТПП-0192-16, -16М); 600 … 1300 ºC (ТПР-0192-16, -16М) |
| Показатель тепловой инерции, с, не более | 500 |
| Вид взрывозащиты | Без взрывозащиты |
| Материал корпуса | Алюминиевый сплав |
| Фиксация крышки корпуса | Защёлка |
| Тип присоединения к процессу | Без крепежных элементов |
| Материал погружаемой части | Боросилицированный графит |
| Диаметр арматуры, мм | 20; 30 |
| Диаметр погружаемой части, мм | 42 |
| Материал арматуры/оболочки кабеля | 12Х18Н10Т |
| Длина монтажной части, мм (L) | 800/1000/1250 /1600/2000 мм |
| Длина преобразователя, мм (l) | 500/740/1100/1460/1600 |
| Степень пылевлагозащиты (IP) | IP65; IP66 |
| Диаметр термоэлектродов | 0,4-0,4 мм (для ТПП/ТПР-0192-16М); 0,4-0,5 мм; 0,5-0,5 мм (для ТПП/ТПР-0192-16) |
Условия эксплуатации термопары ТПП/ТПР-0192-16, -16М
Климатическое исполнение термоэлектрического преобразователя — термопары ТПП/ТПР-0192-16, -16М – обыкновенное В4 по ГОСТ Р 52931-2008, но при верхнем значении температуры окружающего воздуха до 85С.
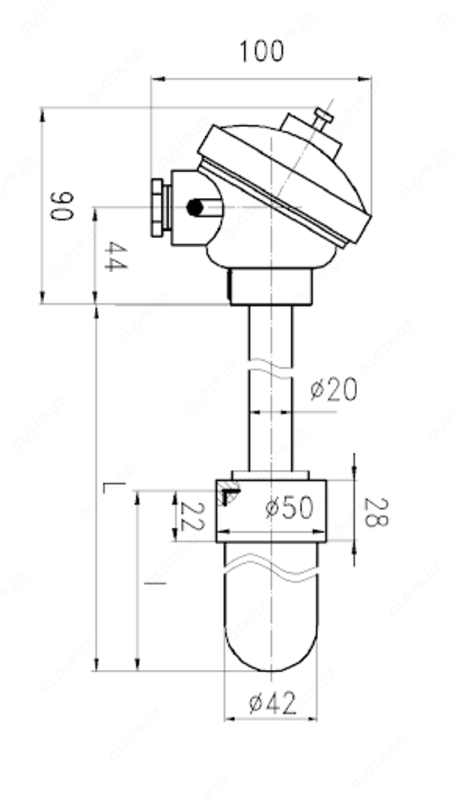
Габаритные, монтажно-присоединительные размеры и исполнения термопары ТПП/ТПР-0192-16, -16М

Габаритные размеры термопар ТПП-, ТПР-0192-16
| Условное обозначение исполнения термопар ТПП/ТПР-0192-16 | Длина монтажной части L, мм | Длина погружаемой части l , мм | Масса, кг, не более |
| ТПП/ТПР-0192-16-800-500 | 800 | 500 | 3,0 |
| -0192-16-1000-500 | 1000 | 500 | 3,6 |
| -0192-16-1000-740 | 1000 | 740 | 3,7 |
| -0192-16-1250-740 | 1250 | 740 | 4,3 |
| -0192-16-1250-1100 | 1250 | 1100 | 4,6 |
| -0192-16-1600-1100 | 1600 | 1100 | 5,6 |
| -0192-16-1600-1460 | 1600 | 1460 | 5,8 |
| -0192-16-2000-1460 | 2000 | 1460 | 6,8 |
| -0192-16-2000-1600 | 2000 | 1600 | 6,9 |
| Диаметр термоэлектродов, мм: 0,5 | |||

Габаритные размеры термопар ТПП-, ТПР-0192-16М
| Условное обозначение исполнения термопары ТПП/ТПР-0192-16М | Длина монтажной части L, мм | Длина погружаемой части l , мм | Масса, кг, не более |
| ТПП/ТПР-0192-16М-800-500 | 800 | 500 | 3,0 |
| -0192-16М-1000-500 | 1000 | 500 | 3,6 |
| -0192-16М-1000-740 | 1000 | 740 | 3,7 |
| -0192-16М-1250-740 | 1250 | 740 | 4,3 |
| -0192-16М-1250-1100 | 1250 | 1100 | 4,6 |
| -0192-16М-1600-1100 | 1600 | 1100 | 5,6 |
| -0192-16М-1600-1460 | 1600 | 1460 | 5,8 |
| -0192-16М-2000-1460 | 2000 | 1460 | 6,8 |
| -0192-16М-2000-1600 | 2000 | 1600 | 6,9 |
| Диаметр термоэлектродов, мм: 0,4 | |||
Комплект поставки термопары ТПП/ТПР-0192-16, -16М
В комплект поставки входят:
Термопреобразователь —термопара ТПП-0192-16, -16М или ТПР-0192-16, -16М (исполнение согласно заказу) — 1 шт.
Паспорт прибора – 1 экз.
Форма заказа термопары ТПП/ТПР-0192-16, -16М
При заказе датчиков температуры — термопар ТПП/ТПР-0192-16, -16М необходимо указать (руководствуясь приведенными выше техническими характеристиками, чертежом, таблицей исполнений и потребностями производства):
-— тип датчика температуры (ТПП или ТПР);
— НСХ чувствительного элемента (S (ТПП), R (ТПП), B (ТПР));
— диаметр арматуры (20 или 30 мм);
— длину монтажной части L из ряда 800/1000/1250 /1600/2000 мм;
— длину преобразователя l из ряда 500/740/1100/1460/1600 мм;
— степень пылевлагозащиты (IP65 или IP66);
— диаметр термоэлектродов (0,4-0,4 мм (для ТПП/ТПР-0192-16М); 0,4-0,5 мм; 0,5-0,5 мм (для ТПП/ТПР-0192-16);
— класс допуска чувствительного элемента (2 или 1).
Если у вас есть потребность во вспомогательном оборудовании для монтажа, защиты или установки датчиков температуры — термоэлектрических преобразователей, то ее также следует обозначить в заказе.(см. информацию о вспомогательном оборудовании для термопар).
Возможные ошибки при оформлении заказа на термопары ТПП/ТПР-0192-16, -16М
При заказе термопреобразователей — термопар ТПП/ТПР-0192-16, -16М рекомендуем быть внимательными при оформлении заказа, в т.ч. учитывать возможные варианты записи обозначения и встречающиеся ошибки при заказе. Например, нам доводилось сталкиваться с такими ошибками в заявках:
— неправильное или некорректное название прибора: температурный преобразователь, ТП, температурный контроллер, регулятор, термодатчик, датчик термоэлектродный, термоэлектронный преобразователь, сигнализатор, терморегулятор, индикатор, прибор контроля, термореле и т.п.
— неправильные обозначения модели и орфографические ошибки: ТПР0192-16, ТПР192-16, ТПР-129-16, ТРП-0192-16, ТПП0192-16, ТПП192-16М, ТПП0192-16-М и т.п.
— ошибки написания связанные с переводом, транслитераций или раскладкой клавиатуры, например: thermocouple TPP/TPR-0192-16, -16M, thermoelectric transducer with supercharged nitrogen, temperature sensor, termopara tpp/tpr-0192-16, -16M, NGH-0192-16, NGH0192-16V, NGG-0192-16, NGG0192-16V (в En-раскладке) и т.д. и т.п.
Поэтому убедительная просьба, будьте внимательны при оформлении заказа на угловые датчики температуры — термоэлектрические преобразователи ТПП0192-16, ТПР0192-16М, не путайте обозначения, а если не знаете или не уверены, то просто напишите основные технические характеристики (длину монтажной части, тип датчика, НСХ, класс допуска, диапазон измерения температуры и т.д.) в простой форме изложения, а инженеры нашего предприятия подберут необходимый Вам прибор и доп. оборудование по наилучшему соотношению Цена — Качество — Срок изготовления (наличие на складе).
Перечислением
Прием платежей в безналичной форме путем перевода денежных средств на расчетный счет
Быстрая доставка
Быстрая доставка
-
Стоимость доставки
Бесплатно
-
Регионы доставки
Узбекистан: все регионы
Стандартная доставка
Стандартная доставка
-
Стоимость доставки
Бесплатно
-
Регионы доставки
Узбекистан: все регионы
Бесплатная доставка
Бесплатная доставка
-
Стоимость доставки
Бесплатно
-
Регионы доставки
Узбекистан: все регионы
Рекомендуем